SmartDNS介绍
SmartDNS是一个运行在本地的DNS服务器,SmartDNS接受本地客户端的DNS查询请求,从多个上游DNS服务器获取DNS查询结果,并将访问速度最快的结果返回给客户端,提高网络访问速度。 同时支持指定特定域名IP地址,并高性匹配,达到过滤广告的效果。
详情可见SmartDNS官网
本文主要实现加速访问的效果,暂不考虑其他功能。
安装SmartDNS
SmartDNS安装主要参考上述官网,本文将以OpenWrt luci为例,安装步骤如下:
- 点击
系统下的软件包选项 - 在
过滤器中输入smartdns,点击查找软件包 - 下载
luci-app-smartdns,luci-i18n-smartdns-zh-cn,smartdns三项

大部分openwrt编译版本一般都含有此软件包
SmartDNS的基本配置
见下图:

应注意以下选项:
双栈IP优选,应注意您的设备是否完全支持IPv6,尤其是您所在的网络运营商是否支持重定向,应选择重定向53端口到SmartDNS,但如果您存在其他涉及DNS的软件,应自行选择
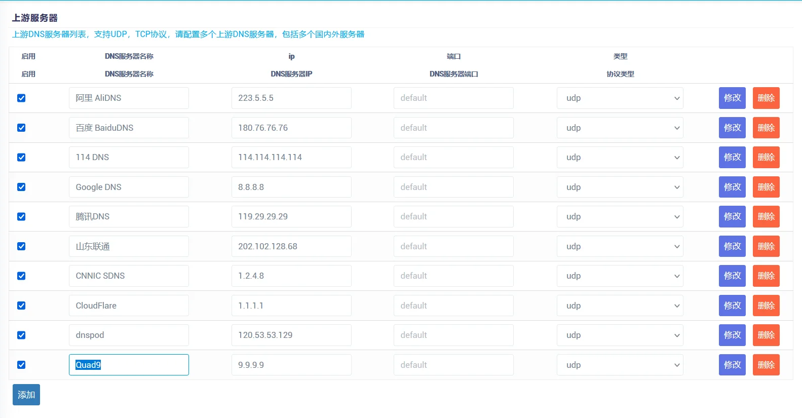
上游服务器配置
| DNS服务器名称 | DNS服务器地址 |
|---|---|
| 阿里 AliDNS | 223.5.5.5 |
| 百度 BaiduDNS | 180.76.76.76 |
| 114 DNS | 114.114.114.114 |
| 腾讯DNS | 119.29.29.29 |
| 山东联通 | 202.102.128.68 |
| Google DNS | 8.8.8.8 |
| CloudFlare | 1.1.1.1 |
| Quad9 | 9.9.9.9 |
最终效果如下图:

特殊设置
由于SmartDNS具有一般的DNS能力,我们可以在域名地址中进行指定的域名解析IP。
address /home.lan/192.168.10.50
如上述设置的作用是,当访问http://home.lan时,将解析成192.168.10.50,即我个人的路由器地址。
客户端设置
在Windows 10中,通过以下步骤完成DNS设置:
点击
Windows 设置下的网络和Internet选项点击
状态中的属性,如下图:

- 下滑到
IP设置,点击编辑,如下图:

IP地址填入任一未被占用的IP地址,子网前缀填入32,网关填入192.168.10.50,DNS服务器填入192.168.10.50,点击保存
测试
测试方法1:
打开浏览器,输入http://home.lan,如果生效可以直接访问到软路由主页
测试方法2:
打开cmd,输入nslookup baidu.com,如果设置正确则结果如下图:

配置正确返回的IP地址仅有一个,若返回多个则配置不正确